Pressure-retarded osmosis

The ideal water potential between fresh water (right) and sea water (left) corresponds to a hydraulic head of 270 metres

Pressure retarded osmosis (PRO) is a technique to separate a solvent (for example, fresh water) from a solution that is more concentrated (e.g. sea water) and also pressurized. A semipermeable membrane allows the solvent to pass to the concentrated solution side by osmosis.[1] The technique can be used to generate power from the salinity gradient energy resulting from the difference in the salt concentration between sea and river water.

History

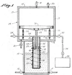
A pressure-retarded osmosis apparatus was described by Maxwell and Robert Weingarten in US Patent 3,587,227 (filed June 1969, issued June 1971).[2] Their invention describes the use of a selective membrane to drive pressurization of a working fluid, including both purely batch configurations and a reciprocating pair of pistons that can provide continuous power.

Weingartens' osmotic pressurization of a cylinder
Weingartens' reciprocating cylinders for continuous generation of osmotic power

They also disclosed the use of aqueous salt solutions as the osmotic solution.

Another version of power power generation by pressure-retarded osmosis was invented by Prof. Sidney Loeb in 1973 at the Ben-Gurion University of the Negev, Beersheba, Israel.[3][4]

Richard Norman submitted a manuscript describing the concept to Science in May 1974.[5] In that manuscript, Norman clearly indicated that he was unaware of any prior work on the topic. Loeb submitted a comment on Norman's cost analysis to Science in January 1975.[6] In that publication, Loeb proposed the term "pressure retarded osmosis". He further wrote "To facilitate examination of the concept in some detail, the United States-Israel Binational Science Foundation awarded a grant (No. 337) to our Research Authority in May 1974."

Scientific and technical background

The ideal power production formula, which applies to an idealized situation, predicts that the optimal hydraulic pressure difference, is one-half the osmotic pressure difference between the saline and pure water streams .[5][7] For a seawater to fresh water PRO system, the ideal case corresponds to an optimal power pressure of 26 bars. This pressure is equivalent to a column of water (hydraulic head) 270 meters high.[8]

In a real-world system, both the hydraulic pressure and the osmotic pressure will vary through the PRO system as a result of friction, water removal, and salt build up near the membranes. These factors reduce the achievable power below the ideal limit. The amount of membrane area that can be used is limited by cost and other practical considerations, and this factor limits achievable power production.[9] A significant portion of the electrical power generated by PRO must be used by the pumps that circulate water through the plant.[10] This power demand can be improved with designs that use pressure exchangers. Appropriate membranes are also necessary. A main consideration governing the performance of PRO is the degree of concentration polarization within the membrane, which is characterized in PRO by the "structural parameter" [11] . Lower values of indicate less concentration within the membrane, improving performance. The water and salt permanence of the membrane also influences its performance in PRO.[12]

All these factors have limited the economic viability of PRO.[13] Although it can make seawater desalination modestly less energy intensive, PRO requires quite high costs of electrical energy to be economical.[14] PRO may be more competitive in regions where electricity prices vary dramatically, where reverse osmosis systems could be operated in a PRO mode during price spikes.[15]

PRO has the potential to extract osmotic power from waste streams, such as desalination plant brine discharge or treated wastewater effluent.[16] The potential power output is proportional to the salinity difference between the fresh and saline water streams. Desalination yields very salty brine, while treated municipal wastewater has relatively little salt. Combining those streams could produce energy to power both facilities. However, powering an existing wastewater treatment plant by mixing treated wastewater with seawater in a mid-size city could require a membrane area of 2.5 million square meters.[17]

Process

A pressure retarded osmosis (PRO) diagram. The applied pressure must be below the osmotic pressure for the process to work. Pipe thicknesses qualitatively convey the relative volumetric flow rate. Image modified by author from [18]

PRO uses a water–permeable membrane with an osmotic pressure difference to drive water flux from a low–concentration "diluate" stream, into a slightly pressurized higher–concentration. An energy recovery device on this stream provides the energy output, and must exceed the pumping pressure input for net power production.

Testing

The world's first osmotic plant with capacity of 10 kW was opened by Statkraft, a state-owned hydropower company, on 24 November 2009 in Tofte, Norway.[19] It had been estimated that PRO could generate 12 TWh annually in Norway, sufficient to meet 10% of Norway's total demand for electricity.[20]

In January 2014, Statkraft terminated their pressure-retarded osmosis pilot project [21] due to economic feasibility concerns.

Starting in 2021, SaltPower is building another commercial osmotic power plant in Denmark using very high salinity brine from a geothermal power plant.[22]


See also

References

  1. ^ Helfer Fernanda, Lemckert Charles, Anissimov Yuri G (2014). "Osmotic power with Pressure Retarded Osmosis: Theory, performance and trends – A review". Journal of Membrane Science. 453: 337–358. doi:10.1016/j.memsci.2013.10.053. hdl:10072/61191.{{cite journal}}: CS1 maint: multiple names: authors list (link)
  2. ^ US 3,587,227, Maxwell H. Weingarten & Robert J. Weingarten, "Power generating means", published June 28, 1971, issued June 28, 1971 
  3. ^ Israel Patent Application 42658. (July 3, 1973) United States patent 3906250.
  4. ^ Weintraub, Bob. "Sidney Loeb and the origins of pressure retarded osmosis". The Israel Chemist and Chemical Engineer, 2021.
  5. ^ a b Norman, Richard (October 25, 1974). "Water Salination: A Source of Energy". Science. 186 (4161): 350–352. Bibcode:1974Sci...186..350N. doi:10.1126/science.186.4161.350. PMID 17839865.
  6. ^ Loeb, Sidney (August 22, 1975). "Osmotic Power Plants". Science. 189 (4203): 654–655. Bibcode:1975Sci...189..654L. doi:10.1126/science.189.4203.654. PMID 17838753.
  7. ^ Lee, K. L.; Baker, R. W.; Lonsdale, H. K. (1981). "Membranes for power generation by pressure-retarded osmosis". Journal of Membrane Science. 8 (2): 141–171. doi:10.1016/S0376-7388(00)82088-8.
  8. ^ How does it work? Archived 2009-11-28 at the Wayback Machine - Statkraft
  9. ^ Banchik, L. D.; Sharqawy, M. H.; Lienhard, J. H. (October 15, 2014). "Limits of power production due to finite membrane area in pressure retarded osmosis". Journal of Membrane Science. 286: 81–89. doi:10.1016/j.memsci.2014.05.021. hdl:1721.1/103172.
  10. ^ Chung, H. W.; Banchik, L. D.; Swaminathan, J.; Lienhard, J. H. (April 15, 2017). "On the present and future economic viability of stand-alone pressure-retarded osmosis". Desalination. 408: 133–144. Bibcode:2017Desal.408..133C. doi:10.1016/j.desal.2017.01.001. hdl:1721.1/107716.
  11. ^ Watterson, John Grant (1995). "What drives osmosis?". Journal of Biological Physics. 21 (1): 1–9. doi:10.1007/BF00701005. ISSN 0092-0606. Retrieved 2025-05-06.
  12. ^ PRO_BRO
  13. ^ Chung, H. W.; Swaminathan, J.; Banchik, L. D.; Lienhard, J. H. (December 15, 2018). "Economic framework for net power density and levelized cost of electricity in pressure-retarded osmosis". Desalination. 448: 13–20. Bibcode:2018Desal.448...13C. doi:10.1016/j.desal.2018.09.007. hdl:1721.1/118349.
  14. ^ PRO_BRO
  15. ^ PRO_RO_hybrids
  16. ^ Alnajdi, Sultan; Naderi Beni, Ali; Roldan-Carvajal, Mateo; Aboderin, Joel; Rao, Akshay K.; Warsinger, David M. (2025). "Salinity gradient energy recovery with Batch Reverse Osmosis". Renewable Energy. 246: 122801. doi:10.1016/j.renene.2025.122801. Retrieved 2025-05-06.
  17. ^ Akst, Daniel (29 August 2014). "A New Kind of Power from Salt Water". Wall Street Journal.
  18. ^ Rao, Akshay K.; Li, Owen R; Wrede, Luke; Coan, Stephen M.; Elias, George; Cordoba, Sandra; Roggenberg, Michael; Castillo, Luciano; Warsinger, David M. (2021). "A framework for blue energy enabled energy storage in reverse osmosis processes". Desalination. 511. Elsevier BV: 115088. Bibcode:2021Desal.51115088R. doi:10.1016/j.desal.2021.115088. ISSN 0011-9164.
  19. ^ Wojciech Moskwa (2009-11-24). "World's First Osmotic Power Plant Opens". Reuters. Retrieved 2014-08-23.
  20. ^ Statkraft to build world's first osmotic power plant Archived 2008-09-15 at the Wayback Machine
  21. ^ "Is PRO economically feasible? Not according to Statkraft | ForwardOsmosisTech". 22 January 2014. Archived from the original on 18 January 2017. Retrieved 18 January 2017.
  22. ^ "SaltPower i Sønderborg har solgt sit første salt-kraftværk | SønderborgNYT". SønderborgNYT. March 1, 2021. Retrieved December 30, 2023.

Further reading